找回密码
 立即注册
澳门威尼斯人
U8
U18
海燕招商
A
蓝盾
e世博
islot.
申博亚洲
澳门银河
B
开云
腾博会
德信
C级广告商
吉祥坊
华体会
查看: 38105|回复: 82

[彩票] 【实战有奖】今天到腾博会玩彩票输了60大洋

[复制链接]

1214

主题

3万

回帖

510

金币

铂金用户

积分
93119

老会员交易勋章光影行者

发表于 2025-10-29 20:59 | 显示全部楼层 |阅读模式

马上注册,结交更多好友,享用更多功能,让你轻松玩转社区。

您需要 登录 才可以下载或查看,没有账号?立即注册

×
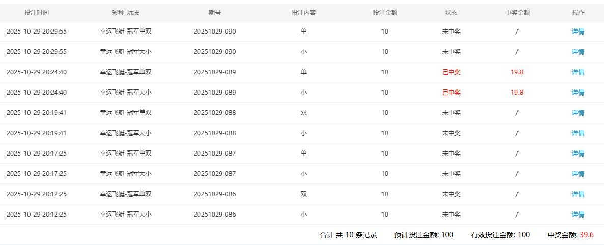
    今天到了腾博会去玩了彩票。还是选择了幸运飞艇这个游戏。可惜的是,昨天我赢了近40块,今天却输了60块,也是太无奈的啊。5 O! W. P- N9 j! e6 N
: Q) B- [+ t0 `5 ]  ^6 `
     一开始,我是买了小和双了啊。觉得还是要赢的吧,下注了20大洋了啊。不过开奖结果出来,竟然是遇到了2黑的啊。一个都没有中。我的20大洋就输了啊。真是遗憾的啊。
6 ^! @! R6 O7 V  c: X; ]" l! A     第2期,我是去下注了小和单了 。每个下注了10大洋了。可是结果出来了。竟然还是2黑了啊。我的运气感觉也是太糟糕了。竟然25%的概率连续出现了。这样我就输了40大洋出去了啊。% @" ~3 y8 l- w
     第3期,我又买了小和双。我以为这次总要赢了吧。下注了每个10元的啊。但是结果出来,竟然还是2黑了。我简直是无语了啊。那么小的概率竟然3次让我遇到啦 。太悲剧了啊。1 f# l* r, j4 x4 ^9 w& C& W9 G/ o
     第4期,没有办法,我还是要继续。我就想看看我到底要输几期。这期我买了小和单各10元。这次算幸运了啊。结果出来,真的是小单了啊。于是我就赢了20大洋了啊。算是搬了一点回来。, h* V2 n" q' {. y! @* G, B. F* w6 v; p
     第5期,我就继续下注小和单,想再搬一点本。不料,这次结果出来,我又遇到了2黑了。实在是太无奈了。今天不是2黑就是2红,黑的多出了3期来,所以我的亏损就是60大洋了啊。实在是很悲催了啊。我是很不开心的啊。" n4 {6 b( D  s
    0.JPG % d, E" C( Y3 [( E7 }7 }8 V+ k6 v3 N4 Q
回复

使用道具 举报

102

主题

6390

回帖

2606

金币

金牌会员

积分
20822

老会员

发表于 2025-10-29 21:10 | 显示全部楼层
楼主的战绩不是很理想的结局,能止损做的非常不错
回复 支持 反对

使用道具 举报

618

主题

1万

回帖

5416

金币

千足金牌会员

积分
40281

老会员

发表于 2025-10-29 22:18 | 显示全部楼层
这战绩啊确实没达到理想效果,实是有些可惜,希望下次能挽回损失的60大洋
回复 支持 反对

使用道具 举报

3400

主题

4万

回帖

4126

金币

钻石用户

积分
116733

万时之王老会员勤奋勋章交易勋章

发表于 2025-10-29 23:01 | 显示全部楼层
所幸只是输六十, 不算多了, 这点亏损也是可以承受得起了, 影响不了大局
回复 支持 反对

使用道具 举报

3400

主题

4万

回帖

4126

金币

钻石用户

积分
116733

万时之王老会员勤奋勋章交易勋章

发表于 2025-10-29 23:01 | 显示全部楼层
一路前行 发表于 2025-10-29 22:18' `: t3 p: A: ]* V; |+ j7 F
这战绩啊确实没达到理想效果,实是有些可惜,希望下次能挽回损失的60大洋 ...

0 D& E) ?) U+ m玩菠菜都是有风险的, 输赢很正常了, 输不多, 也是不必计较的了
回复 支持 反对

使用道具 举报

3400

主题

4万

回帖

4126

金币

钻石用户

积分
116733

万时之王老会员勤奋勋章交易勋章

发表于 2025-10-29 23:02 | 显示全部楼层
易天一人 发表于 2025-10-29 21:10% H0 z& w; ~9 ]$ j
楼主的战绩不是很理想的结局,能止损做的非常不错

3 g" i- X% p" s) M彩票运气不行, 也是可以尝试下别的游戏了, 说不定能够峰回路转了。
回复 支持 反对

使用道具 举报

1581

主题

8万

回帖

2万

金币

海燕硕士

积分
259517

万时之王老会员精华勋章勤奋勋章交易勋章光影行者

发表于 2025-10-30 06:27 | 显示全部楼层
这一次输钱了,还是非常可惜的事情还是非常让人不满意的结果了。
回复 支持 反对

使用道具 举报

1581

主题

8万

回帖

2万

金币

海燕硕士

积分
259517

万时之王老会员精华勋章勤奋勋章交易勋章光影行者

发表于 2025-10-30 06:27 | 显示全部楼层
莫扎特06 发表于 2025-10-29 23:01' n1 l$ ^8 ^) `, r# g, \
玩菠菜都是有风险的, 输赢很正常了, 输不多, 也是不必计较的了

9 u1 F5 n9 m, n: X! C6 N感觉是有很大的风险了,我们都是非常不喜欢输钱的结果了。
回复 支持 反对

使用道具 举报

1581

主题

8万

回帖

2万

金币

海燕硕士

积分
259517

万时之王老会员精华勋章勤奋勋章交易勋章光影行者

发表于 2025-10-30 06:28 | 显示全部楼层
莫扎特06 发表于 2025-10-29 23:02( S; F4 t) T8 j# a( y0 C2 K
彩票运气不行, 也是可以尝试下别的游戏了, 说不定能够峰回路转了。

/ \: F. l4 H8 n- e还是可以换个游戏试试的,希望是可以能够赢钱的结果吧。
回复 支持 反对

使用道具 举报

62

主题

4万

回帖

1420

金币

钻石用户

积分
124171

万时之王老会员勤奋勋章交易勋章光影行者

发表于 2025-10-30 06:50 | 显示全部楼层
遗憾的输了一天的伙食费了,也是太难了,不好搞了,郁闷的结果了,难受的!
回复 支持 反对

使用道具 举报

62

主题

4万

回帖

1420

金币

钻石用户

积分
124171

万时之王老会员勤奋勋章交易勋章光影行者

发表于 2025-10-30 06:50 | 显示全部楼层
cwx1994 发表于 2025-10-30 06:27& a4 X, u% [! B, K9 a1 [
感觉是有很大的风险了,我们都是非常不喜欢输钱的结果了。

7 w' I  l' m" j  \9 O确实是有风险,这就是BC,真的是美誉哦办法了,现实比较残酷了,不好搞的!
回复 支持 反对

使用道具 举报

62

主题

4万

回帖

1420

金币

钻石用户

积分
124171

万时之王老会员勤奋勋章交易勋章光影行者

发表于 2025-10-30 06:51 | 显示全部楼层
莫扎特06 发表于 2025-10-29 23:019 f+ x; c0 ]( t+ k
玩菠菜都是有风险的, 输赢很正常了, 输不多, 也是不必计较的了

! b6 s7 V/ \" y+ y2 X; M* n输赢正常,但是要做到控制好自己,那确实是没有啥大问题就好的了!
回复 支持 反对

使用道具 举报

1852

主题

6万

回帖

2684

金币

钻石用户

积分
176706

万时之王老会员勤奋勋章交易勋章

发表于 2025-10-30 06:55 | 显示全部楼层
易天一人 发表于 2025-10-29 21:10
. c" C6 N5 n+ |& p1 n  u5 k, t, ?楼主的战绩不是很理想的结局,能止损做的非常不错

, t. X6 D# N! @/ o9 l这一次的结果是真的不理想啊这样的结果也是真的悲剧了
- n+ T2 @7 \& c9 k# z& a- @' p
回复 支持 反对

使用道具 举报

1852

主题

6万

回帖

2684

金币

钻石用户

积分
176706

万时之王老会员勤奋勋章交易勋章

发表于 2025-10-30 06:55 | 显示全部楼层
cwx1994 发表于 2025-10-30 06:27
, I/ t( q# F$ e( ]4 d, b这一次输钱了,还是非常可惜的事情还是非常让人不满意的结果了。
1 h% g+ A7 e; L7 g0 K& z
这个结果确实是比较可惜的了只能希望下一次是可以好运气
8 p7 L" f' Y6 s+ |# I1 J
回复 支持 反对

使用道具 举报

1852

主题

6万

回帖

2684

金币

钻石用户

积分
176706

万时之王老会员勤奋勋章交易勋章

发表于 2025-10-30 06:55 | 显示全部楼层
这样的结果当然是遗憾的了这个只能希望下一次能够赢回来吧
( _# |; v( J' F4 e) B
回复 支持 反对

使用道具 举报

您需要登录后才可以回帖 登录 | 立即注册

本版积分规则

广告合作|福利汇|论坛简介|钱包教程|手机版|小黑屋|Archiver|海燕论坛

快速回复 返回顶部 返回列表