找回密码
 立即注册
澳门威尼斯人
U8
U18
海燕招商
A
蓝盾
e世博
islot.
申博亚洲
B
开云
腾博会
德信
C级广告商
吉祥坊
华体会
查看: 19478|回复: 68

[彩票] 【实战有奖】今天到腾博会玩了彩票赢了好几十

[复制链接]

1211

主题

3万

回帖

626

金币

铂金用户

积分
90756

老会员交易勋章光影行者

发表于 2025-11-24 21:25 | 显示全部楼层 |阅读模式

马上注册,结交更多好友,享用更多功能,让你轻松玩转社区。

您需要 登录 才可以下载或查看,没有账号?立即注册

×
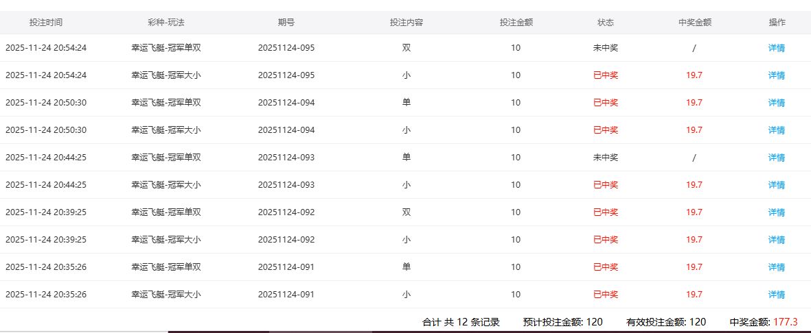
      今天到腾博会玩了一下彩票了啊。实在是一个好的运气了啊。今天就赢了不少的啊。也是非常的开心的啊。今天下注了120的流水,竟然是的了177的金额,所以我算是赢了57大洋的啊。实在是非常的好的啊。我也是很满意的啊。
/ p, F$ B! _8 C$ u
8 q' m+ Y4 Q; U$ @6 W& N      今天呢,我就是去玩了这个幸运飞艇的啊。也是玩的冠军的位置了啊。+ P  h# ?  r; `( n  M0 A
      第一期下注的是大和单的一个方向了啊。每个下注了10元了 啊 。结果出来了。是小和单了啊。所以我的投注也是一红一黑了啊。。所以也是没有什么的啊。反正也是不输了啊。) F2 ?4 `: P- m  p. H
      第2期了啊。我就是下注了小和单了啊。下注了10元一个的啊。结果呢,也是真的是很不错的啊。竟然是一个2红了啊这样我就赢了20了啊。实在是非常的不错的啊。
: d9 [4 k' M8 A+ w* g6 @4 u     第3期呢,我就是下注了小和双的啊。一共下注了20了 。结果出来,竟然是又对了啊。我又是一个2红了啊。我又盈利了20大洋了 这样就一共赢了40啦 。实在是很不错的啊。我也是很满意的啊。2 z/ a  m3 D! b& \
     第4期开始,我就没有什么心理压力了 。我继续下注。我买小和单,每个10元。结果出来,是小双了。于是我就是又来了一个一红一黑的结果。反正就是平局,我是没有输的啊。4期下来,我还是赢了40了啊。; |" I& F* P7 v- E# W! V5 P0 X1 ?8 B
     第5期呢,我去买小和单了。还是每个10元。这次运气又是很好的。我又是一个2红了 啊。于是我的盈利就来到了60了啊。是只是非常爽了啊。我实在是没有想到今天的路子就是按照我的思想来的啊。
; Y" Q" f* h: t9 ^) g, h+ n$ N     因为打得比较顺,我就没有注意期数,没有注意流水。就继续搞了一期。第6期,我买了小和双的了。结果出来了,是小单。所以我的投注是一红一黑的啊。反正这把没有输。那么今天我下注了12手,中了9手,净胜6手,实在是很理想的一个结果了啊。7 s! [9 I% [# X2 I. K0 L* }
     最终我的盈利是57元多,是因为有抽水的原因了啊。之所以能赢,归根结底,还是运气好。
" r, `# p3 g+ ?5 y 99.JPG
' f4 \" B% y6 R- C
回复

使用道具 举报

102

主题

6390

回帖

2606

金币

金牌会员

积分
20822

老会员

发表于 2025-11-24 21:30 | 显示全部楼层
楼主有收获的成绩比较理想了,期待有更好的发挥
回复 支持 反对

使用道具 举报

278

主题

1万

回帖

4452

金币

金牌会员

积分
34776

老会员光影行者

发表于 2025-11-25 05:11 | 显示全部楼层
只要是能够赢钱,都是比较高兴的,希望以后都能有个好的结果了。
回复 支持 反对

使用道具 举报

1479

主题

7万

回帖

1万

金币

海燕硕士

积分
231870

万时之王老会员精华勋章勤奋勋章交易勋章光影行者

发表于 2025-11-25 06:20 | 显示全部楼层
可以赢钱的结果真是太给力了,还是要多多祝贺一下楼主成功收米的了。
回复 支持 反对

使用道具 举报

1479

主题

7万

回帖

1万

金币

海燕硕士

积分
231870

万时之王老会员精华勋章勤奋勋章交易勋章光影行者

发表于 2025-11-25 06:21 | 显示全部楼层
易天一人 发表于 2025-11-24 21:30
$ S: r4 p) K1 Q% Y. k" v楼主有收获的成绩比较理想了,期待有更好的发挥

4 n+ [& t' e- @; Q. s0 C还是非常理想的成绩,楼主是个很厉害的高手要跟着学习一下的。
回复 支持 反对

使用道具 举报

1479

主题

7万

回帖

1万

金币

海燕硕士

积分
231870

万时之王老会员精华勋章勤奋勋章交易勋章光影行者

发表于 2025-11-25 06:21 | 显示全部楼层
没牙的兔子 发表于 2025-11-25 05:11& `) A* p; h( m* w8 I2 L6 J% R* x
只要是能够赢钱,都是比较高兴的,希望以后都能有个好的结果了。
+ }! A1 o* h! |7 ?- C& I& q
能够赢钱的结果确实是很高兴的,希望是可以保持住这样的好运气吧 。
回复 支持 反对

使用道具 举报

1211

主题

3万

回帖

626

金币

铂金用户

积分
90756

老会员交易勋章光影行者

 楼主| 发表于 2025-11-25 06:47 来自手机 | 显示全部楼层
易天一人 发表于 2025-11-24 21:308 J4 V0 _. [% P% c; c9 @
楼主有收获的成绩比较理想了,期待有更好的发挥
3 \1 j* E6 F' ]
今天的这个成绩的确是很不错的了,这也是感觉到运气很好的了
回复 支持 反对

使用道具 举报

1211

主题

3万

回帖

626

金币

铂金用户

积分
90756

老会员交易勋章光影行者

 楼主| 发表于 2025-11-25 06:47 来自手机 | 显示全部楼层
没牙的兔子 发表于 2025-11-25 05:114 \- V' _9 o" Y  D  X) m
只要是能够赢钱,都是比较高兴的,希望以后都能有个好的结果了。

4 x; ?5 K! o% O! @( r0 Q我们永远都是希望自己有一个好的结果的了,我们一定要加油的啦
回复 支持 反对

使用道具 举报

1211

主题

3万

回帖

626

金币

铂金用户

积分
90756

老会员交易勋章光影行者

 楼主| 发表于 2025-11-25 06:47 来自手机 | 显示全部楼层
cwx1994 发表于 2025-11-25 06:20
  x) }; q/ Y) n6 X# k: w+ A, M可以赢钱的结果真是太给力了,还是要多多祝贺一下楼主成功收米的了。
) X  f, u# N1 c2 T
这也不得不说是幸运的一件事情了,我们都是不断的努力之中的了
回复 支持 反对

使用道具 举报

1211

主题

3万

回帖

626

金币

铂金用户

积分
90756

老会员交易勋章光影行者

 楼主| 发表于 2025-11-25 06:47 来自手机 | 显示全部楼层
cwx1994 发表于 2025-11-25 06:214 c9 o, S  {6 ?* n  s
还是非常理想的成绩,楼主是个很厉害的高手要跟着学习一下的。
. A8 y% d' p, z# l& v
高手谈不上的啦,大家还是彼此互相的学习一下吧
回复 支持 反对

使用道具 举报

1211

主题

3万

回帖

626

金币

铂金用户

积分
90756

老会员交易勋章光影行者

 楼主| 发表于 2025-11-25 06:47 来自手机 | 显示全部楼层
cwx1994 发表于 2025-11-25 06:21
& g: j6 f6 z" Z( w9 R" C能够赢钱的结果确实是很高兴的,希望是可以保持住这样的好运气吧 。
& N/ R$ P! w# o- H1 t1 g- J
希望是可以保持的啦,不过我们心里也是要做好其他的思想准备的啦
回复 支持 反对

使用道具 举报

2288

主题

7万

回帖

8505

金币

海燕硕士

积分
217547

老会员超级精华精华勋章美女勋章勤奋勋章交易勋章万时之王

发表于 2025-11-25 07:35 | 显示全部楼层
能够赚个几十块钱以上很好的了玩游戏嘛都喜欢赚钱的钱
回复 支持 反对

使用道具 举报

2288

主题

7万

回帖

8505

金币

海燕硕士

积分
217547

老会员超级精华精华勋章美女勋章勤奋勋章交易勋章万时之王

发表于 2025-11-25 07:35 | 显示全部楼层
猴哥打野 发表于 2025-11-25 06:47& H- ~5 R! j$ T7 k
希望是可以保持的啦,不过我们心里也是要做好其他的思想准备的啦

/ @3 h7 J) _  V7 I想要保持下去不是那么容易的事,我们也是希望有个好运
回复 支持 反对

使用道具 举报

2288

主题

7万

回帖

8505

金币

海燕硕士

积分
217547

老会员超级精华精华勋章美女勋章勤奋勋章交易勋章万时之王

发表于 2025-11-25 07:35 | 显示全部楼层
cwx1994 发表于 2025-11-25 06:21
" E+ t; y. }1 y  o# j! y还是非常理想的成绩,楼主是个很厉害的高手要跟着学习一下的。
8 w: x3 K& Z: c; L4 q, e+ R
这次比较明显的话,要保持一下才能玩的长久呀
回复 支持 反对

使用道具 举报

1834

主题

5万

回帖

4003

金币

钻石用户

积分
174516

万时之王老会员勤奋勋章交易勋章

发表于 2025-11-25 07:57 | 显示全部楼层
没牙的兔子 发表于 2025-11-25 05:11
) q; j+ b" i3 ^只要是能够赢钱,都是比较高兴的,希望以后都能有个好的结果了。
2 C( f" Q4 d9 E& e$ X, }( d1 F
这样的收入那是真的非常高兴的但是以后什么结果这个不好说的
1 [% G+ V1 O& a, q; `
回复 支持 反对

使用道具 举报

您需要登录后才可以回帖 登录 | 立即注册

本版积分规则

广告合作|评测有奖|福利汇|论坛简介|钱包合集|手机版|小黑屋|Archiver|海燕论坛

快速回复 返回顶部 返回列表