找回密码
 立即注册
澳门威尼斯人
U8
U18
海燕招商
A
蓝盾
e世博
islot.
申博亚洲
澳门银河
B
开云
腾博会
德信
C级广告商
吉祥坊
华体会
查看: 1212|回复: 89

[彩票] 比特彩票走势不定艰难收904元

[复制链接]

62

主题

2713

回帖

2161

金币

银牌会员

积分
11136

老会员

发表于 2026-2-28 19:42 | 显示全部楼层 |阅读模式

马上注册,结交更多好友,享用更多功能,让你轻松玩转社区。

您需要 登录 才可以下载或查看,没有账号?立即注册

×
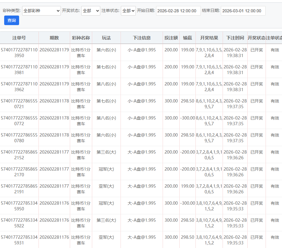
晚上继续着 70-150-200-300-500的战略彩票下注 三定位两面玩法,输了一直往上推到500赢后则从赢时的注码往下推到最低70的位置,投注9000多才收904元;) u/ \) L" v+ _# D! E1 B

: z! L5 j5 _6 W  L% d& [" S9 U0 E" ~7 m% }. p2 I2 A7 T$ g8 u& M- ^+ b
2.png 3.png 1.png $ n& a! H1 Z& i

评分

参与人数 1金币 +8 收起 理由
海燕RG + 8 实战分享

查看全部评分

回复

使用道具 举报

3425

主题

2万

回帖

1万

金币

版主

积分
91845

优秀版主老会员版主勋章超级精华

发表于 2026-2-28 19:50 | 显示全部楼层
主要还是要看胜率,否则很难扛得住了
回复 支持 反对

使用道具 举报

214

主题

1万

回帖

2182

金币

千足金牌会员

积分
44613

老会员

发表于 2026-2-28 20:13 | 显示全部楼层
这次幸运的,下次就得要再稳点才行呀
回复 支持 反对

使用道具 举报

1456

主题

1万

回帖

9129

金币

千足金牌会员

积分
49092

老会员财富勋章精华勋章交易勋章热心会员魅力达人

发表于 2026-2-28 20:29 | 显示全部楼层
这样的盈利已经很不错了
回复 支持 反对

使用道具 举报

8

主题

2万

回帖

1万

金币

铂金用户

积分
82237

光影行者

发表于 2026-2-28 20:36 | 显示全部楼层
这节奏太折磨人了,推注推到500才回血,9000砸下去就捞900多,心疼钱包
回复 支持 反对

使用道具 举报

8

主题

2万

回帖

1万

金币

铂金用户

积分
82237

光影行者

发表于 2026-2-28 20:36 | 显示全部楼层
笑看人生 发表于 2026-2-28 20:290 X* v# ~& d+ y* d1 B3 v0 D4 X
这样的盈利已经很不错了
5 z+ G' L" f4 c  F: l$ V+ a
能稳住900+已经算硬核了,这走势能抠出来真不容易
回复 支持 反对

使用道具 举报

8

主题

2万

回帖

1万

金币

铂金用户

积分
82237

光影行者

发表于 2026-2-28 20:36 | 显示全部楼层
hy188820 发表于 2026-2-28 20:13
1 {3 ?0 }! F) {) I2 M这次幸运的,下次就得要再稳点才行呀

  R2 f7 b9 d* C+ b0 D走势飘忽确实难搞,稳着来才能细水长流,下次别急着冲
回复 支持 反对

使用道具 举报

618

主题

1万

回帖

5415

金币

千足金牌会员

积分
40279

老会员

发表于 2026-2-28 23:27 | 显示全部楼层
如此丰厚的回报令人赞叹,这是楼主的实力
回复 支持 反对

使用道具 举报

618

主题

1万

回帖

5415

金币

千足金牌会员

积分
40279

老会员

发表于 2026-2-28 23:28 | 显示全部楼层
蔬菜沙拉 发表于 2026-2-28 20:36
' E. g5 |1 L5 k; l走势飘忽确实难搞,稳着来才能细水长流,下次别急着冲
$ U8 q; [3 B- A3 I: B
: x3 q* N# O2 C. @! n
能长期保持盈利状态就实属难得
回复 支持 反对

使用道具 举报

2

主题

9001

回帖

1万

金币

千足金牌会员

积分
46961
发表于 2026-3-1 02:25 | 显示全部楼层
这推注玩法投九千多才收九百出头,走势不定真够磨人的,这收益和投入比看着也挺闹心
回复 支持 反对

使用道具 举报

2

主题

9001

回帖

1万

金币

千足金牌会员

积分
46961
发表于 2026-3-1 02:26 | 显示全部楼层
一路前行 发表于 2026-2-28 23:28
0 X' n/ ^* K3 U6 Y2 h' N; n( X能长期保持盈利状态就实属难得
( G9 T  i2 E8 i  \  w/ L0 L
走势那么飘能长期稳着赚真不容易,这次收904也算是熬过来了,别贪稳着来就好
回复 支持 反对

使用道具 举报

1581

主题

8万

回帖

2万

金币

海燕硕士

积分
259517

万时之王老会员精华勋章勤奋勋章交易勋章光影行者

发表于 2026-3-1 05:37 | 显示全部楼层
可以赢这么多钱也是非常厉害的了。
回复 支持 1 反对 0

使用道具 举报

1581

主题

8万

回帖

2万

金币

海燕硕士

积分
259517

万时之王老会员精华勋章勤奋勋章交易勋章光影行者

发表于 2026-3-1 05:37 | 显示全部楼层
蔬菜沙拉 发表于 2026-2-28 20:361 q5 c1 c/ z# `$ s, }- b* B2 @
走势飘忽确实难搞,稳着来才能细水长流,下次别急着冲

( K  y4 h9 p9 z0 P3 {0 {希望是可以能够保持住这样的好运气吧
回复 支持 反对

使用道具 举报

1581

主题

8万

回帖

2万

金币

海燕硕士

积分
259517

万时之王老会员精华勋章勤奋勋章交易勋章光影行者

发表于 2026-3-1 05:37 | 显示全部楼层
一路前行 发表于 2026-2-28 23:27( u1 O5 j0 I5 k  N
如此丰厚的回报令人赞叹,这是楼主的实力

5 `4 j4 ^6 b4 {3 y/ r1 N, p" ^9 i楼主确实是非常有实力的玩家了呢。
回复 支持 反对

使用道具 举报

1581

主题

8万

回帖

2万

金币

海燕硕士

积分
259517

万时之王老会员精华勋章勤奋勋章交易勋章光影行者

发表于 2026-3-1 05:37 | 显示全部楼层
一路前行 发表于 2026-2-28 23:284 M8 d6 |/ {0 K
能长期保持盈利状态就实属难得
: I! q# d8 J! x3 B  Q7 _
这个确实是非常难得的事情了呢。
回复 支持 反对

使用道具 举报

您需要登录后才可以回帖 登录 | 立即注册

本版积分规则

广告合作|福利汇|论坛简介|钱包教程|手机版|小黑屋|Archiver|海燕论坛

快速回复 返回顶部 返回列表