找回密码
 立即注册
澳门威尼斯人
U8
U18
海燕招商
A
蓝盾
e世博
islot.
申博亚洲
澳门银河
B
开云
腾博会
德信
C级广告商
吉祥坊
华体会
查看: 1245|回复: 94

[彩票] 晚上的彩票非常顺利收米390多块钱

[复制链接]

62

主题

2713

回帖

2161

金币

银牌会员

积分
11136

老会员

发表于 2026-3-14 18:41 | 显示全部楼层 |阅读模式

马上注册,结交更多好友,享用更多功能,让你轻松玩转社区。

您需要 登录 才可以下载或查看,没有账号?立即注册

×
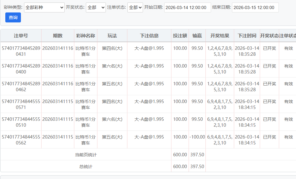
晚上的比特赛车居然能顺利赢到390多块钱,依旧是按100-200-300-450-600的节奏来下注。
6 q" z8 }' f1 ^5 K! ]. w2 |) I 1.jpg / ?" z+ R6 T, D" _+ |
2.jpg
# u$ k; N' g9 D6 r; M" {$ w5 O6 g4 _7 l. P- U& O6 a. J
9 C( y" K4 d! d

. [+ J- J5 Q3 h+ G
/ s3 v6 T% t8 h5 M+ R# s9 o

评分

参与人数 1金币 +6 收起 理由
海燕RG + 6 实战分享

查看全部评分

回复

使用道具 举报

214

主题

1万

回帖

2182

金币

千足金牌会员

积分
44613

老会员

发表于 2026-3-14 19:58 | 显示全部楼层
楼主玩彩票游戏非常有策略,更多结果来看也是有效果收获
回复 支持 反对

使用道具 举报

4

主题

113

回帖

717

金币

高级用户

积分
1807
发表于 2026-3-14 20:06 | 显示全部楼层
还是楼主高啊,这场令人满意   
回复 支持 反对

使用道具 举报

8

主题

2万

回帖

1万

金币

铂金用户

积分
82237

光影行者

发表于 2026-3-14 20:38 | 显示全部楼层
这节奏稳得一批,小步慢跑不贪真能扛住波动,下次试试前几轮压更轻点
回复 支持 反对

使用道具 举报

2

主题

9001

回帖

1万

金币

千足金牌会员

积分
46961
发表于 2026-3-15 02:24 | 显示全部楼层
比特赛车按那阶梯节奏下居然收了390多,顺的时候这注码走得还挺稳啊
回复 支持 反对

使用道具 举报

1581

主题

8万

回帖

2万

金币

海燕硕士

积分
259517

万时之王老会员精华勋章勤奋勋章交易勋章光影行者

发表于 2026-3-15 05:48 | 显示全部楼层
楼主也是非常给力的收米了,非常满意的成绩
回复 支持 反对

使用道具 举报

1581

主题

8万

回帖

2万

金币

海燕硕士

积分
259517

万时之王老会员精华勋章勤奋勋章交易勋章光影行者

发表于 2026-3-15 05:48 | 显示全部楼层
蔬菜沙拉 发表于 2026-3-14 20:38. }6 L* {( v4 K& w! x
这节奏稳得一批,小步慢跑不贪真能扛住波动,下次试试前几轮压更轻点
& p! b; a. a& n# x$ h
我们都是非常喜欢这样的盈利,要祝贺一下楼主的
回复 支持 反对

使用道具 举报

1581

主题

8万

回帖

2万

金币

海燕硕士

积分
259517

万时之王老会员精华勋章勤奋勋章交易勋章光影行者

发表于 2026-3-15 05:48 | 显示全部楼层
思维认知 发表于 2026-3-15 02:24
' F: O2 G" [& D( e) n比特赛车按那阶梯节奏下居然收了390多,顺的时候这注码走得还挺稳啊
) r9 B) l9 S1 x# H, \5 V& o: N
楼主是个玩彩票的高手,非常让人羡慕的了
回复 支持 反对

使用道具 举报

7

主题

1万

回帖

6870

金币

千足金牌会员

积分
55872

老会员光影行者

发表于 2026-3-15 06:32 | 显示全部楼层
节奏控制得不错,390的收益确实让人心里舒坦,这个下注模式挺稳的
回复 支持 反对

使用道具 举报

0

主题

2237

回帖

4392

金币

银牌会员

积分
15391
发表于 2026-3-15 06:56 | 显示全部楼层
比特赛车这节奏居然能捞到390多?100起步一步步加居然没翻船,手气是真顺啊,羡慕了
回复 支持 反对

使用道具 举报

0

主题

2237

回帖

4392

金币

银牌会员

积分
15391
发表于 2026-3-15 06:57 | 显示全部楼层
思维认知 发表于 2026-3-15 02:24- ~5 ~, A; c, f% p& X1 h8 D8 A0 d
比特赛车按那阶梯节奏下居然收了390多,顺的时候这注码走得还挺稳啊

9 c3 m% E" B' o. H! B$ G6 P比特赛车那阶梯节奏居然稳收390多,顺的时候注码走得还挺舒服,看来摸对节奏是真省心,不像有时候瞎搞乱飘
回复 支持 反对

使用道具 举报

2452

主题

8万

回帖

5206

金币

海燕硕士

积分
225117

老会员超级精华精华勋章美女勋章勤奋勋章交易勋章万时之王

发表于 2026-3-15 07:22 | 显示全部楼层
彩票可以赚到这么多的钱也不容易
回复 支持 反对

使用道具 举报

2452

主题

8万

回帖

5206

金币

海燕硕士

积分
225117

老会员超级精华精华勋章美女勋章勤奋勋章交易勋章万时之王

发表于 2026-3-15 07:22 | 显示全部楼层
NO.2 发表于 2026-3-15 06:57
$ T) D  Z8 [# h5 c8 ^5 s比特赛车那阶梯节奏居然稳收390多,顺的时候注码走得还挺舒服,看来摸对节奏是真省心,不像有时候瞎搞乱 ...
- B$ b& ]) R4 u0 y8 F
有个好的节奏才能稳定的搞钱来的呀
回复 支持 反对

使用道具 举报

2452

主题

8万

回帖

5206

金币

海燕硕士

积分
225117

老会员超级精华精华勋章美女勋章勤奋勋章交易勋章万时之王

发表于 2026-3-15 07:22 | 显示全部楼层
cwx1994 发表于 2026-3-15 05:48
# P9 i% h5 K( ]( O; M0 Y, `楼主是个玩彩票的高手,非常让人羡慕的了

* V% x5 I3 Z  d确实也算一个高手吧,这样才能赚到钱
回复 支持 反对

使用道具 举报

2452

主题

8万

回帖

5206

金币

海燕硕士

积分
225117

老会员超级精华精华勋章美女勋章勤奋勋章交易勋章万时之王

发表于 2026-3-15 07:22 | 显示全部楼层
123 发表于 2026-3-14 20:06
4 U! k, G  f% h, J8 _还是楼主高啊,这场令人满意
4 k3 }- X4 ?* K0 |0 `
也没有什么好羡慕的吧,几百块钱而已
回复 支持 反对

使用道具 举报

您需要登录后才可以回帖 登录 | 立即注册

本版积分规则

广告合作|福利汇|论坛简介|钱包教程|手机版|小黑屋|Archiver|海燕论坛

快速回复 返回顶部 返回列表